干货丨管孔式水帘、拉线式水帘、数字水帘等装置做法详解

发布日期: 2023-02-13

各位设计师

大家好!


水景是人类居住不可或缺的元素
能为景观空间带来无限的生机与灵气
除了丰富视觉的观赏性
听觉的悦耳怡人外
还具有完善景观生态体系
调节小气候,增加局部湿度
和局部降温等实用功能

图片

「水帘设计」也是水景设计中

比较独特的形式,说到水帘

想起儿时看西游记里

花果山有一水帘洞

穿过那一幕水帘就能

进入另一个世界

水帘就如一幕晶莹梦幻的引入


图片


在现代景观中,它也能

为空间制造一丝朦胧浪漫的气氛

水帘相对柔和安静,又充分

呈现着水的动态灵气

就像“雨”的提取与重组

能带来愉悦灵动的空间体验


图片

万科互动水帘装置


水帘常见的类型有

管孔式水帘、拉线水帘、数字水帘



  01. 

景观水帘设计


图片

阳江美的 · 未来中心/DDON笛东


管孔式(悬挂式)水帘有管孔垂直悬置和齿口式的不同做法。可实现水珠分明,晶莹剔透的效果。

垂直管孔式在设计施工时需考虑出水头水压的均等性;齿口式做法如水面外露的平口式或齿式,应考虑溢出口的宽度以计算出合适水量。

无论哪种做法,都需考虑选择合适的水泵功率,相应能呈现出不同水帘效果。


图片

图片


绍兴元垄中南·华著/DDON笛东


图片

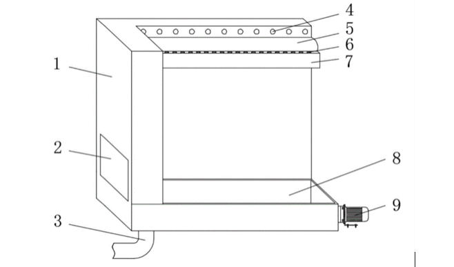
示例 | 一种管孔水帘的装置做法

来源:http://www.xjishu.com/zhuanli/01/201920467744.html

拉线水帘又名吊线水帘。

水沿线体至上而下流动,可实现不洒水不溅水。如一颗颗珍珠平整滑落,形成线型整齐的水幕。

线体距离不同,导流材料的选择不同,实现的效果也就有诸多差异。其中光纤水帘可在灯光的作用下,根据设计遥控变色,晶莹缤纷。

拉线水帘在室内中庭等空间更能显示其唯美静谧的质感。室外景观的营造对其也有了越来越多和丰富的运用。

图片

广州中海·熙园/魏玛景观

昆明远洋·青云府/S.P.I山水比德


图片
示例 | 一种拉线用水帘的装置做法
来源:cprs.patentstar.com.cn

数字水帘,又名数码/数控水帘/图文水幕。

由美国麻省理工学院的科学家发明设计。在计算机精确操控下,流动的水墙可被控制显示出各种图案和文字样式。
艺术与科技结合,具有很强新奇感、趣味性和吸引力。

图片

图片

福州融信海月江潮/来源:朗道国际

武汉龙湖光谷城 /蓝调国际


图片
一种数字水帘的装置做法
来源:http://www.xjishu.com/zhuanli/10/201721471490.html
  02. 

景观水帘设计

厦门首开龙湖·春江彼岸

S.P.I山水比德

图片

入口的水帘形成一幕晶莹的景墙,与后面的叠水相呼应,形成一幅“山水行赏图”。“水帘下的仙鹤,如湿地之神,营造云雾萦绕之仙境,呈现中国皇家园林的现代演绎。”

图片

图片

图片

重庆融创·璟凌溪

A&N尚源景观

以山水画卷为蓝本,展现现代禅意山水。中景静水带来纯净之境,近处水帘潺潺,营造朦胧之美,为沉静的空间注入灵动。

图片

图片


长春保利·净月和府

GVL怡境国际

“一方水幕与花园相接,水幕下落,星光飞溅。” 传达出“但愿人长久,千里共婵娟”的浪漫意境之美。


图片

图片

广州五矿·万樾台

GVL怡境国际

项目二进院落,一方天井庭院,天空倒映落入地面静水。天井四周由水帘朦胧围合,雨水可沿着天井下的不锈钢丝水帘拉线流入室内,雨落珠帘,形成“四水归堂”、“水聚天心”的意境。


图片

图片

图片

图片

图片

图片

图片

昆明绿地香港巫家坝壹号

栖地设计

项目入口的大厅中央,圆形水帘从一片星空之中垂落,环绕映照两只巨大的晶莹剔透的水晶粒子蝴蝶,缓缓从天窗蹁跹落至水台。周围水帘在灯光下,笼罩上一层淡淡的紫罗兰光芒,幽然之境,梦幻而神秘。


图片


图片

图片

图片

武汉龙湖光谷城

蓝调国际

“别有洞天——波光粼粼的数控水帘墙与玻璃墙虚实结合,隔而未隔,界而未界地区分开入口与体验区。盈盈一水隔,穿插在玻璃砖景墙前,轻巧灵动的虚墙,使整个空间更加生动。水幕缭绕中似有花香徐徐飘来,萦绕鼻尖,暗香浮动。”

图片
图片

图片图片

图片

重庆旭辉.江山青林半

DDON笛东

提取“山之起伏”的意向,将山水概念化,一幕悬挑水帘在入口展现,“雨霖无尽垂落”,形成颇具现代设计感的秘境峡谷。自然与现代在如瀑之声中融合统一。


图片

图片


图片

贵阳中南.春风南岸

S.P.I山水比德

“岛,向美好而生。”一幕晶莹水帘从白色建筑顶端倾泻而下,穿过梯田、坡地与森林,将多维立体空间串联融合。

图片图片图片

成都旭辉.江山和鸣

S.P.I山水比德

景观露台顶部垂落水帘,形成7m瀑布,落入梯田般的水池,展现出飞瀑叠泉的概念化景象。较粗的水帘拉柱显刚硬气势。


图片图片

华润置地广州润悦

GVL怡境国际

50m星座与星光闪烁的大道,将人们引至一个中庭,方型围合的水帘,在光与细密线性视觉的效果下,轻盈而有力地分离出中心空间形成视觉焦点,科幻感满满,契合了项目的星际主题。


图片

图片

江苏镇江中南聆江阁

S.P.I山水比德

“‘如鱼得水’是我们对生活的一种祈愿。重塑镇江‘鱼米之乡,临水之都’的生活印记。一场寻梦的历程,形成了‘一只鱼的自我意识’。“
”一群跃向天空的鱼,追寻长江就像人们追寻自由,顺着水之脉络,游于逍遥之间。”水珠灵动有力,在光影间跃动不息。


图片图片

图片

图片

图片

图片

图片

上海万科宝山启宸

RDA景观

“现代风格建筑,体量关系干净利落,几何线条简洁挺拔,进退有致,配以饱和的橘红色基调。”

游鳞雨帘契合建筑,线条简练、留白。精致琉璃片幽碧清透,环绕水帘旋转渐变。与建筑活跃的橘色对比,形成一处宁静的视觉中心。夜晚在灯光与音乐的陪衬下更显质感与优雅格调。


图片图片图片

图片

水帘与不同的材质或颜色搭配结合,都有不同效果。它们构成了水帘中各自的“故事”元素,在相似运用中却演绎着不同的叙事和情景。

  03. 

水帘类型

水帘设计形态有较大的自由度,设计形式及组合多样。除了形成空间水幕景墙外,还可以用于空间围合,或与其他景观小品进行多样组合。

01

关键词 | 围合

一般中庭较多采用“围合”的手法,常见方形或圆形围合,形成视觉中心。围合水帘通常采用更具平衡和稳定感的“拉线式水帘”。

围合的空间较大时,水帘中的庭院还可利用置石、水景、植物、景墙、地形设计等塑造更丰富的景观,水帘将其虚掩相隔,形成朦胧浪漫的感受。

图片

图片

自贡融创观溪樾生活示范区/蓝调国际



图片

图片

图片

得力金宸湾/GVL怡境国际

图片图片图片

山东菏泽当代城MOMΛ / 栖地设计

图片图片图片

绍兴港龙· 铂樾府 / 栖地设计


图片

图片

成都保利大国璟/致澜景观

而一般在入口,围合空间较小时,通常由水帘围合突显某一视觉亮点,如雕塑、特置水景等。

图片

图片图片图片

南京颐和九里/澜道设计


图片

肇庆保利和悦湖畔/GVL怡境国际

02 

关键词 | 组合

另外,水帘也可与景观小品如景观亭、种植池、廊架、景墙、雕塑等组合,自由度和可塑性较强,呈现出不同的点缀运用。这时通常采用更灵动的“管孔式水帘”。搭配灯光的不同设计,它也能呈现丰富变化。


图片


图片

图片


图片

橙珲·随园 / 道远景观


图片图片图片图片

天津翰悦府/纬图设计


图片

图片


昆明鐵建山語桃源/貝爾高林國際


图片图片

西昌蓝润.春风九里/景虎景观


图片


北京大兴中海·云筑/DDON笛东


图片

图片

武汉江夏新城金郡示范区 / 荷于景观waterlily

图片

图片

西宁·万科城示范区/A&N尚源景观

注:本文案例均来自2019以来地产行业新发布的项目,由看见景观(ID:Landscape_View)搜集整理编写。具体案例介绍中带引号段落,摘选自相应设计公司项目推文,仅用于交流学习。

- END -
免责提示:部分文章系网络转载,仅供分享不做任何商业用途,版权归原作者所有。部分文章及图片因转载众多,无法确认原作者与出处的,仅标明转载来源。如有问题,请联系我们,我们会立即删除,并表示歉意,谢谢!

  • 电话

    0571-28102880 / 28102898

  • 传真

    0571-28329688

  • 邮箱

    Onekindhr@163.com

  • 地址

    杭州市拱墅区金华南路189号丝联166创意园

分享到:

Copyright © 2022 杭州一恺科技有限公司. 浙ICP备11055640号-1 . Designed by Wanhu
灯光秀设计厂家,想了解价格,报价方案,多少钱,哪里找,哪家好请联系我们.

法律声明 · 友情链接 · 网站地图